Visualizing the 6502

Topics pertaining to the emulation or simulation of the 65xx microprocessors and their peripheral chips.
User avatar
BigEd
Posts: 11463
Joined: 11 Dec 2008
Location: England
Contact:

Post by BigEd »

BigEd wrote:
... interested in the 6800, because I'd like to see what similarities and differences exist ...
And the answer is...

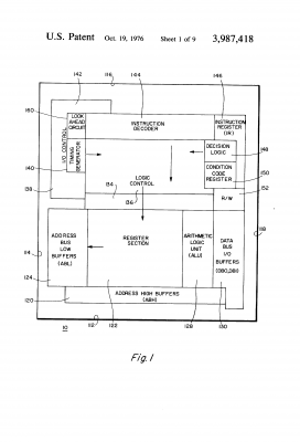
From this patent: (US3987418A, now found here)
6800 annotated chip floorplan
6800 annotated chip floorplan
which compares to the 6502 (as seen at visual6502):
screenshot of visual6502 (early version)
screenshot of visual6502 (early version)
...much less than I expected! I'm shocked!
Last edited by BigEd on Sun Dec 24, 2023 2:34 pm, edited 4 times in total.
HiassofT
Posts: 36
Joined: 02 Sep 2010
Location: Salzburg, Austria
Contact:

Post by HiassofT »

BigEd wrote:
BigEd wrote:
... interested in the 6800, because I'd like to see what similarities and differences exist ...
...much less than I expected! I'm shocked!
Hey, there's a very big difference! As we all can see from your pics, the 6800 was only black&white whereas the 6502 had plenty of colors :-)

gd&r, Hias
kc5tja
Posts: 1706
Joined: 04 Jan 2003

Post by kc5tja »

HAH, looks like Motorola was right after all. But, I'm still glad the 6502 won over the 6800. ;)
ElEctric_EyE
Posts: 3260
Joined: 02 Mar 2009
Location: OH, USA

Post by ElEctric_EyE »

What are the I5x pullouts from the die?
User avatar
BigEd
Posts: 11463
Joined: 11 Dec 2008
Location: England
Contact:

Post by BigEd »

ElEctric_EyE wrote:
What are the I5x pullouts from the die?
These are reference numbers (in the 150's) used in the text of the patent in the "Description of the invention" section.

I notice the patent text refers to many other patent applications submitted in the same timeframe, including on interrupts and on instruction look-ahead. One of the circuits I intend to investigate in the 6502 simulator is the lookahead - it looks like the databus is inspected and some pre-decode signals derived during the fetch cycle. If that's right, then it's stealing some nanoseconds from the external access time. It's possible this trick is inherited from the 6800.

I do have more named signals available than the released version of the simulator has - I imagine there'll be an update before long. I don't yet have the identities of the PLA outputs or the datapath control inputs, but I'll get them. We'll need a way to display or tabulate changes on all these signals too - presently I'm doing that by adhoc modifications to the javascript (pasted into the console at runtime)
User avatar
BigEd
Posts: 11463
Joined: 11 Dec 2008
Location: England
Contact:

Post by BigEd »

Here's a curiousity - this 65816 programming book has a die photo on the cover and it looks like a stretch-limo version of 6502. The datapath appears to be double length not double width:

65816 die photo from book cover
65816 die photo from book cover
658162.jpg (12.83 KiB) Viewed 4401 times


Edit: replace lost imageshack-hosted image with attachment
Last edited by BigEd on Fri Dec 13, 2013 12:37 pm, edited 1 time in total.
kc5tja
Posts: 1706
Joined: 04 Jan 2003

Post by kc5tja »

I think we pretty much knew that from its instruction timings. :-)
User avatar
BigEd
Posts: 11463
Joined: 11 Dec 2008
Location: England
Contact:

update: smaller, faster, can load and run programs

Post by BigEd »

The visual simulator just got faster and smaller (must be Moore's law)

There's also now a more low-level advanced interface, and by passing an appropriate URL you can load and run a short test program:
http://visual6502.org/JSSim/expert.html ... =60&r=0020

That particular program answers the riddle:
Q. When is the stack pointer not the stack pointer?

In this 'graphics=false' mode you can use the 'Show chip layout' button to explore the chip layout, where each conductor is coloured according to the logic level as the simulation progresses. '>' to zoom in, click and drag to pan.

Thanks to Greg, Barry and Brian for many of the new features.

Cheers
Ed

Edit: update link from pre-release to released area
Last edited by BigEd on Wed Nov 10, 2010 8:35 pm, edited 1 time in total.
RichTW
Posts: 95
Joined: 06 Oct 2010
Location: Palma, Spain

Post by RichTW »

My first post here! Thanks a lot to the whole team for such an astounding piece of work; it's fascinating to see what's going on.

That's a curious thing that SP is trashed while executing a JSR (actually, I noticed this yesterday when I was playing about with 'expert mode', and thought it was some kind of bug in the frontend!). I wonder why it does that?

I have a question - what is the 'tcstate' column? First of all, I guessed it was the timer state (as sent to the PLA), but given that it barely changes (for example, during the JSR) and would be better represented as a series of bits, I guess not.
User avatar
BigEd
Posts: 11463
Joined: 11 Dec 2008
Location: England
Contact:

Post by BigEd »

Welcome!

Note that SP isn't trashed, it's borrowed for the LSB while the PC is written to the stack. During those writes, the value of SP must be decremented, so it spends a few cycles in the ALU - leaving the SP register free as a temporary!

The tcstate presentation is a bug, I'm afraid. It should show values like 011111, 101111 and so on, but I added the bits instead of concatenating them. There's a fix in the works!

(If you feel intrepid, you can find your browser's Javascript Console, get it to print out busToString, and adjust it to read

Code: Select all

function busToString(busname){
	// takes a signal name or prefix
	// returns an appropriate string representation
	if(busname=='cycle')
		return cycle>>1;
	if(busname=='pc')
		return busToHex('pch') + busToHex('pcl');
	if(busname=='p')
		return readPstring();
	if(busname=='tcstate')
		return ['clock1','clock2','t2','t3','t4','t5'].map(busToHex).join("");
	return busToHex(busname);
}
which is code you can find on github
)

You should then see something like this tabulation:

Code: Select all

cycle  ab    db  rw  sync  pc    a   x   y   s   p         ir  tcstate  pd  adl  adh  sb  alu  alucin  alua  alub  alucout  aluvout  dasb
0      0000  a9  1   1     0000  aa  00  00  fd  nv-bdIZc  00  011111   ff  00   00   ff  00   0       ff    00    0        0        ff
0      0000  a9  1   1     0000  aa  00  00  fd  nv-bdIZc  00  011111   56  01   00   ff  ff   0       ff    00    0        0        ff
1      0001  00  1   0     0001  aa  00  00  fd  nv-bdIZc  a9  100111   56  01   00   ff  ff   0       ff    ff    0        0        ff
1      0001  00  1   0     0001  aa  00  00  fd  nv-bdIZc  a9  100111   ff  02   00   ff  fe   0       ff    ff    1        0        ff
2      0002  20  1   1     0002  00  00  00  fd  nv-bdIZc  a9  011111   ff  02   00   00  fe   0       00    00    1        0        00
2      0002  20  1   1     0002  00  00  00  fd  nv-bdIZc  a9  011111   df  03   00   00  00   0       00    00    0        0        00
3      0003  10  1   0     0003  00  00  00  fd  nv-bdIZc  20  110111   df  03   00   00  00   0       00    00    0        0        00
3      0003  10  1   0     0003  00  00  00  fd  nv-bdIZc  20  110111   ef  fd   01   ff  00   0       00    00    0        0        ff
4      01fd  00  1   0     0004  00  00  00  10  nv-bdIZc  20  111011   ef  fd   01   10  00   0       00    fd    0        0        10
4      01fd  00  1   0     0004  00  00  00  10  nv-bdIZc  20  111011   ff  fd   ff   ff  fd   0       00    fd    0        0        ff
5      01fd  00  0   0     0004  00  00  00  10  nv-bdIZc  20  111101   ff  fd   ff   ff  fd   0       ff    fd    0        0        ff
5      01fd  00  0   0     0004  00  00  00  10  nv-bdIZc  20  111101   ff  fc   ff   ff  fc   0       ff    fd    1        0        ff
6      01fc  00  0   0     0004  00  00  00  10  nv-bdIZc  20  111110   ff  fc   ff   ff  fc   0       ff    fc    1        0        ff
6      01fc  04  0   0     0004  00  00  00  10  nv-bdIZc  20  111110   fb  04   00   fb  fb   0       ff    fc    1        0        fb
7      0004  00  1   0     0004  00  00  00  10  nv-bdIZc  20  101111   fb  04   00   fb  fb   0       fb    00    1        0        fb
7      0004  00  1   0     0004  00  00  00  10  nv-bdIZc  20  101111   ff  10   ff   fb  fb   0       fb    00    0        0        fb
8      0010  e8  1   1     0010  00  00  00  fb  nv-bdIZc  20  011111   ff  10   00   fb  fb   0       00    00    0        0        fb
8      0010  e8  1   1     0010  00  00  00  fb  nv-bdIZc  20  011111   17  11   00   00  00   0       00    00    0        0        00
Cheers!
Ed

edit: SP is of course decremented, not incremented, for a push
Last edited by BigEd on Fri Oct 08, 2010 11:40 am, edited 1 time in total.
RichTW
Posts: 95
Joined: 06 Oct 2010
Location: Palma, Spain

Post by RichTW »

BigEd wrote:
Note that SP isn't trashed, it's borrowed for the LSB while the PC is written to the stack. During those writes, the value of SP must be incremented, so it spends a few cycles in the ALU - leaving the SP register free as a temporary!
Ah, of course - that makes perfect sense! It's very cleverly and compactly designed.
BigEd wrote:
The tcstate presentation is a bug, I'm afraid. It should show values like 011111, 101111 and so on, but I added the bits instead of concatenating them. There's a fix in the works!
That's great! I'll hang on for the next release :) I'm intrigued by the tcstate - it doesn't seem to be quite as straightforward as it was originally made out to be.
User avatar
BigEd
Posts: 11463
Joined: 11 Dec 2008
Location: England
Contact:

Post by BigEd »

RichTW wrote:
BigEd wrote:
The tcstate presentation is a bug, I'm afraid. It should show values like 011111, 101111 and so on, but I added the bits instead of concatenating them. There's a fix in the works!
That's great! I'll hang on for the next release :) I'm intrigued by the tcstate - it doesn't seem to be quite as straightforward as it was originally made out to be.
Indeed, it's an interesting area. The Rockwell docs describe a simple counter, but this MOS chip certainly doesn't have that - and I think this might be universal at least up to 65CE02. What we really have is a bitvector, which drives some of the wordlines of the PLA. The last 4 of these do seem to be a shift register, but the first two are more free than that. That's why I wanted to present the set as a bitvector.

Note also that in the Sync cycle, the IR still holds the previous instruction and the machine is still acting on that. It's a simplification (at best) to think of this as T0 of the instruction being fetched. From the point of view of the programmer's model it's good enough, but if you insist on thinking that way down at the microarchitectural level, you might conclude that the 6502 can't be built!

Cheers
Ed

Edit: spello
Last edited by BigEd on Sat Apr 16, 2011 4:57 pm, edited 1 time in total.
ElEctric_EyE
Posts: 3260
Joined: 02 Mar 2009
Location: OH, USA

Post by ElEctric_EyE »

Big Ed, does the visual6502 team plan to release any of the netlists of the devices being preserved?
User avatar
BigEd
Posts: 11463
Joined: 11 Dec 2008
Location: England
Contact:

Post by BigEd »

yes, at least in the sense that the netlists already get downloaded and used by your browser when you visit the site!

Now, what you actually download are javascript files, with some comments, which between them tell you which transistors are connected to which nets, and gives you some names for some of those nets - including the pads of course.

What you don't get is a netlist in a recognisable form, like SPICE or Verilog. Also, you're getting transistors, not logic gates. Some of the transistors form easily recognisable logic gates, but some don't, because there are some non-obvious but efficient ways of building shared busses and latch structures.

If there were a good standard format for transistor level netlists someone could probably rustle up a conversion fairly easily. Irsim seems like the right sort of (free) simulator, but I don't know anything about the netlist formats it supports.

What did you have in mind? (Those transistor-level tricks make it tricky to see how to port to an FPGA.)
ElEctric_EyE
Posts: 3260
Joined: 02 Mar 2009
Location: OH, USA

Post by ElEctric_EyE »

Yes, I was thinking of implementing the netlist file as a symbol representing the IC. Heh, I knew the idea sounded to easy to work.

-EyE
Post Reply