Micro UK101 Build

For discussing the 65xx hardware itself or electronics projects.
micro_brain
Posts: 85
Joined: 31 Mar 2011

Post by micro_brain »

Datasheets - indeed, I'll check when I get the part..

I have ordered one from an ebay supplier (does not specify the model number so I can't tell what it really is), and some more 74LS04 ICs (cheap) becuae I reckon that is the very last thing it could be.
ElEctric_EyE
Posts: 3260
Joined: 02 Mar 2009
Location: OH, USA

Post by ElEctric_EyE »

470 ohms seems very low, doesn't it?
micro_brain
Posts: 85
Joined: 31 Mar 2011

Post by micro_brain »

ElEctric_EyE wrote:
470 ohms seems very low, doesn't it?
That is what it says on the schematic... and we know it works, someone else built one (well, two) without problems.
User avatar
BigEd
Posts: 11463
Joined: 11 Dec 2008
Location: England
Contact:

Post by BigEd »

I notice two things: all the Vcc and Vss/Gnd connections are missing from the diagrams, except for signal tie-offs, and also the pins are labelled Vss or Gnd according to the part conventions, which has certainly tripped me up in the past (confusing Vcc and Vss)

Now, that shouldn't affect the oscillator. The only thing that could be wrong there is putting in the '04 the wrong way around. Which again, is an easy enough mistake.
micro_brain
Posts: 85
Joined: 31 Mar 2011

Post by micro_brain »

Here are pictures of the clock circuit on veroboard. If you see any mistakes, let me know.


UK101 Clock gen top
6502.org wrote:
Image no longer available: https://lh6.googleusercontent.com/_ONCQpF0HAZM/Taxda23-wJI/AAAAAAAAABE/sG54qw5LIts/DSC00612.JPG
UK101 clock gen bottom
6502.org wrote:
Image no longer available: https://lh6.googleusercontent.com/_ONCQpF0HAZM/Taxdaw7yTCI/AAAAAAAAABI/nV0-5vCWffk/DSC00613.JPG
micro_brain
Posts: 85
Joined: 31 Mar 2011

Post by micro_brain »

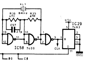
Another question. When the 74LS04 inverter gate is not connected, should it output low, high or anything? As far as I can tell, this one is OK, but it seems to output low when there's no input. However, when high or low is applied to the inputs, all are inverting correctly.

And another one, what should the inverter inputs be when this circuit is connected? They should be high or low, right? So if I test this without the IC in place, I should get an initial signal on the input.
User avatar
BigEd
Posts: 11463
Joined: 11 Dec 2008
Location: England
Contact:

Post by BigEd »

barring shorts between adjacent tracks, I think you're fine. Which is somewhat baffling. Unless of course it turns out that the circuit is "obviously" wrong! leeeeee could confirm or deny that.

I did find a pdf [previously] which had a crystal and a pair of inverters (because after all a pair of inverters is an odd number if you're building an oscillator) and it placed a capacitor between the inverters:
From: AN-400 A Study Of The Crystal Oscillator For CMOS-COPS
From: AN-400 A Study Of The Crystal Oscillator For CMOS-COPS
xtalosc2inv-B.png (23.61 KiB) Viewed 1680 times
[previously, dead image:

]

Edit: looking at this diagram, it's clear that depending on where you probe for the clock, you might be loading up the crystal, which might kill the oscillation. So try to probe after the buffer.
Last edited by BigEd on Thu Sep 15, 2016 6:44 am, edited 2 times in total.
User avatar
BigEd
Posts: 11463
Joined: 11 Dec 2008
Location: England
Contact:

Post by BigEd »

For reference, here's the oscillator circuit from a scan of the original uk101 manual - it's rather like the micro-uk101 as you might expect:
Compukit UK101 oscillator circuit
Compukit UK101 oscillator circuit
xtalosc2invuk101-B.png (27.51 KiB) Viewed 1680 times
[previously, dead image:

]
Last edited by BigEd on Thu Sep 15, 2016 6:44 am, edited 1 time in total.
micro_brain
Posts: 85
Joined: 31 Mar 2011

Post by micro_brain »

Ed, the first circuit "CMOS 2 inverter oscillator" is giving me 23.94mhz at the (buffered) output, is that correct? It's supposed to be 8. How can it oscillate faster than the crystal?
User avatar
BigEd
Posts: 11463
Joined: 11 Dec 2008
Location: England
Contact:

Post by BigEd »

You mean something is actually oscillating? That's got to be a success, at any frequency!

It is a bit on the high side though. Presumably the third harmonic, or something like that.

You could use the '93 as a divide-by-16 readily enough, but that still leaves you with 1.5MHz, presumably too fast for this computer to compute? Or did you have the headroom in place for 2MHz?
micro_brain
Posts: 85
Joined: 31 Mar 2011

Post by micro_brain »

BigEd wrote:
You mean something is actually oscillating? That's got to be a success, at any frequency!

It is a bit on the high side though. Presumably the third harmonic, or something like that.

You could use the '93 as a divide-by-16 readily enough, but that still leaves you with 1.5MHz, presumably too fast for this computer to compute? Or did you have the headroom in place for 2MHz?
Well, the CPU is rated 2Mhz but I'm not sure about all the other components. And the ACIA needs a certain frquency to get 19200 baud - this will not work as it is being driven by the divider circuit (itself derived from the crystal).
User avatar
BigEd
Posts: 11463
Joined: 11 Dec 2008
Location: England
Contact:

Post by BigEd »

All is not lost... The 4-bit counter presently is fed by 4MHz and resets at a count of 12. If instead it is fed by 3MHz and reset at a count of 9 then you get 18750 baud which is about 2.5% adrift - might be OK.

Before that though you could presumably check out the trusty NOP generator with a 1.5MHz clock and then perhaps some test code in a ROM?
micro_brain
Posts: 85
Joined: 31 Mar 2011

Post by micro_brain »

Well, I measured 3Mhz at the CPU's PhiIn so I think it will not work.

The only other solution I can think of (apart from getting the clock to work properly) would be to use the unused counter in the LS93. At the moment, the first divider is unused (that's why InA is unconnected). If I feed the clock signal to InA and connect the Qa output to InB that would divide by 2 and give me 1.5Mhz.

What do you reckon?
User avatar
BigEd
Posts: 11463
Joined: 11 Dec 2008
Location: England
Contact:

Post by BigEd »

Indeed, you need to rejig the use of the '93. You need to feed in the clock signal at pin 14 (InA/CKA), and then take pin 12(QA) to pin 1(InB/CKB) instead. That gives you an extra divide by 2. (Check a datasheet for 74LS93 - I'm referring to this one, third part shown.)
micro_brain
Posts: 85
Joined: 31 Mar 2011

Post by micro_brain »

BigEd wrote:
Indeed, you need to rejig the use of the '93. You need to feed in the clock signal at pin 14 (InA/CKA), and then take pin 12(QA) to pin 1(InB/CKB) instead. That gives you an extra divide by 2. (Check a datasheet for 74LS93 - I'm referring to this one, third part shown.)
YAY!

I got it right!

:D
Post Reply